2026년도 철도전기신호기능사 실기시험 변경사항 안내
◈ 변경 시기 : 2026년 기능사 제2회 실기시험 접수부터 적용(26.4.27-4-30)
◉ 2026년 철도전기신호기능사 무정전 급전회로 공개문제 1번




2026년도 철도전기신호기능사 실기시험 변경사항 안내
□ 변경 사유 : 출제기준 변경등
□ 변경 시기 : 2026년 기능사 제1회 실기시험부터 적용
◎ 변경전 작업형 시험
■ 작업시간 : 3시간
■ 주요 과제
- 철도신호회로 구성 (2025년 2회 시험, 2026년부터 는 실기시험 문제가 변경됩니다.)
◊ 공개문제수 1문제 : ① 건널목 경보회로 구성

======================================
◎ 변경후 작업형 시험 (2026년 제1회 실기시험부터 적용 됨)
■ 작업시간 : 3시간
■ 주요 과제 : 공개문제수 3문제
◊ 철도신호회로 구성(공개문제 1,2번)
① 무정전 급전회로



② 전기선로전환기 전환표시회로


◊ 철도전기회로 구성(공개문제 3번)
③ 전차선 연장급전회로


◆ 필수지참재료
주요 변경사항 IV전선 15m 지급을 30m 이상 필수지참재료로 변경
◆ 지급재료
주요 변경사항 합판을 PVC 컨트롤패널 속판으로 변경
□ 변경후 특이사항 : IV전선은 지급재료에서 필수지참 재료로 변경
□ 공개문제: 해당시험에 공개문제 → 공개문제 → 종목검색
□ 기타: 실기시험의 세부내용은 출제기준을 참고하시기 바랍니다.
※ Q-net → 고객지원 → 자료실 → 출제기준 → 종목검색
□ 관련문의: 기술자격출제실 IT융합출제부(052-714-8426)
========================================
========================================
■ 철도신호 회로도 기호 해석 (철도전기신호기능사 실기 회로도)
위 결선도는 철도신호에서 사용하는 철도신호 접점기호 V표시 릴레이(relay) a접점, b접점, c접점 입니다.
전기 시퀀스 회로도와는 접점기호를 다르게 사용합니다.

- A접점: NO(Normally open) 정위접점, 여자접점
- B접점: NC(Normally closed) 반위접점, 무여자접점
- C접점: Transfer contact 정반위접점, 공통접점
전기 시퀀스 회로 접점 표기



A접점일 경우 접점이 가로는 위쪽, 세로는 우측에 있으므로ㄱ(기역)으로
B접점일 경우 접점이 세로는 왼쪽, 가로는 아래쪽이므로ㄴ(니은)으로 기억하면 된다.
○ A접점(arbeit contact)은 전기적으로 릴레이에 전류가 흐르면 동작하여 닫히는(ON) 접점 (normally open contact).
- 보통 때에는 접점이 떨어져 있고, 스위치를 조작할 때에만 접점이 붙는다.
- arbeit contact에서 앞글자를 따서 a접점이라고 한다.
- 메이크 접점(make contact) 또는 상개 접점(NO 접점:normally open contact)라고도 한다.
○ B접점(break contact)은 전기전으로 릴레이에 전류가 흐르면 동작하여 접점이 열리는(OFF) 접점.
- break contact에서 앞글자를 따서 b접점이라 한다.
- 보통 때에는 접점이 붙어 있고, 스위치를 조작할 때에는 접점이 떨어진다.
- 상폐 접점(NC 접점:normally close contact)라고도 한다.
○ C접점(change-over contact)은 a, b접점부를 공유, 트랜스퍼 접점(transfer contact)
- a접점과 b접점이 하나의 케이스 안에 있는 것으로, 필요에 따라 a접점과 b접점을 선택하여 사용할 수 있다.
- 전환 접점(change-over contact) 또는 트랜스퍼 접점(transfer contact)이라고도 한다.
===============================
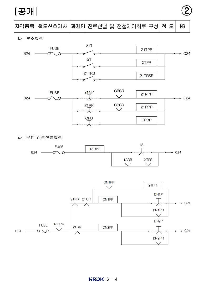
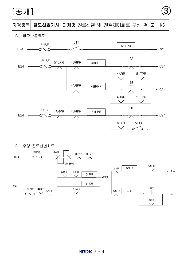
철도신호기사 실기 공개문제 2022년부터 적용












====================










=====================


======================


'감리, 철도운행안전관리자 > 신호분야' 카테고리의 다른 글
| 철도박물관 (2) | 2026.01.09 |
|---|---|
| 열차 사이 차단작업 (2) | 2025.09.09 |
| 선로전환기 일상검사항목과 검사주기 (0) | 2024.12.22 |
| 선로전환기 점검 요령 (0) | 2024.12.13 |
| 선로전환기 종류, 특성 (5) | 2024.11.21 |